| ตลับลูกปืนกันรุนเม็ดกลม รับแรงทิศทางเดียว THRUST BALL BEARINGS-SINGLE DIRECTION |

รหัสสินค้า |
ขนาด |
รหัสสินค้า |
ขนาด |
||||
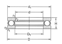
d |
D |
H |
d |
D |
H |
||
511XX |
51206 |
30 | 52 | 16 | |||
51110 |
10 | 24 | 9 | 51207 |
35 | 62 | 18 |
51101 |
12 | 26 | 9 | 51208 |
40 | 68 | 19 |
51102 |
15 | 28 | 9 | 51209 |
45 | 73 | 20 |
51103 |
17 | 30 | 9 | 51210 |
50 | 78 | 22 |
51104 |
20 | 35 | 10 | 51211 |
55 | 90 | 25 |
51105 |
25 | 42 | 11 | 51212 |
60 | 95 | 26 |
51106 |
30 | 47 | 11 | 51213 |
65 | 100 | 27 |
51107 |
35 | 52 | 12 | 51214 |
70 | 105 | 27 |
51108 |
40 | 60 | 13 | 51215 |
75 | 110 | 27 |
51109 |
45 | 65 | 14 | 51216 |
80 | 115 | 28 |
51110 |
50 | 70 | 14 | 51217 |
85 | 125 | 31 |
51111 |
55 | 78 | 16 | 51218 |
90 | 135 | 35 |
51112 |
60 | 85 | 17 | 51220 |
100 | 150 | 38 |
51113 |
65 | 90 | 18 | 51222 |
110 | 160 | 38 |
51114 |
70 | 95 | 18 | 513XX |
|||
51115 |
75 | 100 | 19 | 51305 |
25 | 52 | 18 |
51116 |
80 | 105 | 19 | 51306 |
30 | 60 | 21 |
51117 |
85 | 110 | 19 | 51307 |
35 | 68 | 24 |
51118 |
90 | 120 | 22 | 51308 |
40 | 78 | 26 |
51120 |
100 | 135 | 25 | 51309 |
45 | 85 | 28 |
51122 |
110 | 145 | 25 | 51310 |
50 | 95 | 31 |
51124 |
120 | 155 | 25 | 51311 |
55 | 105 | 35 |
51126 |
130 | 170 | 30 | 51312 |
60 | 110 | 35 |
51128 |
140 | 180 | 31 | 51313 |
65 | 115 | 36 |
51130 M |
150 | 190 | 31 | 51314 |
70 | 125 | 40 |
51132 M |
160 | 200 | 31 | 51315 |
75 | 135 | 44 |
51134 M |
170 | 215 | 34 | 51316 |
80 | 140 | 44 |
51136 M |
180 | 225 | 34 | 51317 |
85 | 150 | 49 |
51138 M |
190 | 240 | 37 | 51318 |
90 | 155 | 50 |
51140 M |
200 | 250 | 37 | 51320 |
100 | 170 | 55 |
512XX |
514XX |
||||||
51200 |
10 | 26 | 11 | 51405 |
25 | 60 | 24 |
51201 |
12 | 28 | 11 | 51406 |
30 | 70 | 28 |
51202 |
15 | 32 | 12 | 51407 |
35 | 80 | 32 |
51203 |
17 | 35 | 12 | 51408 |
40 | 90 | 36 |
51204 |
20 | 40 | 14 | 51409 |
45 | 100 | 39 |
51205 |
25 | 47 | 15 | 51410 |
50 | 110 | 43 |
51411 |
55 | 120 | 48 | ||||
51412M |
60 | 130 | 51 | ||||
51413M |
65 | 140 | 56 | ||||
51414M |
70 | 150 | 60 | ||||
51415M |
75 | 160 | 65 | ||||
51416M |
80 | 170 | 68 | ||||
51417M |
85 | 180 | 72 | ||||
51418M |
90 | 190 | 77 | ||||
51420M |
100 | 210 | 85 | ||||
